Master Bearings

DGBB | SABB | ACBB | CRB | SRB | CARB | TRB| TBB | CRTB/NRTB| SRTB | Y-BEARING | HOUSING | SLEEVES| PLAIN | NRB
Radial shaft | Mechanical | V-ring| Axial clamp| Wear sleeves| Other
Roller Chains | Couplings | Pulley | Optibelt
Linear Motion System | Sensorized Units
RS | Online | Aptitude

Bearings

Page:1 2 3 4 5 6 7 8 9 10

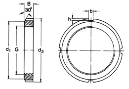
แป้นเกลียวล็อค ขนาด Tr 250*4 - Tr 650*6

LOCK NUTS Tr 205*4 - Tr 650*6

รหัสสินค้า
ขนาด
   
รหัสสินค้า
ขนาด
 
d
G
d1
d3
B
 
d
G
d1
d3
B
HM 30XX
HM 52 T
260 Tr 260*4 300 330 36
HM 42 T
210 Tr 210*4 238 270 30
HM 56 T
280 Tr 280*4 320 350 38
HM 44 T
220 Tr 220*4 250 280 32
HM 58 T
290 Tr 290*4 330 370 40
HM 46 T
230 Tr 230*4 260 290 34
HM 62 T
310 Tr 310*5 350 390 42
HM 48 T
240 Tr 240*4 270 300 34
HM 66 T
330 Tt 330*4 380 420 52
HM 50 T
250 Tr 250*4 290 320 36
HM 74 T
370 Tr 370*4 430 470 58

 

Page: 1 2 3 4 5 6 7 8 9 10